Подшипники серии 15...
Радиальные шарикоподшипники широко представлены в каталоге компании «ПодшипникРУ». Заказчик может подобрать любое, интересующее его, изделие, включая серию 15.
Общая информация о товаре
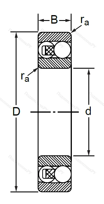
Данный двухрядный сферический шарикоподшипник радиального типа (согласно положениям отечественного норматива 28428-90) относится, по своему конструктивному исполнению, к первому типу – 1000.
Все аналогичные изделия имеют внутреннее посадочное отверстие цилиндрического типа и включены в 5-ую серию диаметров.
Российскими производителями продукция данной серии выпускается под маркировкой 15ХХ. Импортные аналоги маркируются 22ХХ.
Пример. Маркировка согласно ГОСТ, 15032RS E. Маркировка импортных аналогов:
Изделие поставляется на рынок в неразъёмном исполнении, может относиться к подшипникам открытого и закрытого типа. В последнем случае имеются двухсторонние уплотнения из синтетического каучука со стальным армированием (2RS).
В зависимости от модели подшипники данной серии могут комплектоваться сепараторами, изготовленными из различных материалов (например, сталь или полиамид). Тип сепаратора указывается в суффиксе соответствующим обозначением (для полиамида, это литера «Е»).
Способность к компенсации перекосов и возникающей несоосности зависит от наличия уплотнений. Если их нет, но допустимыми являются углы до 4°. При наличии последних, до 1,5°.
Разрешённые температурные диапазоны эксплуатации (-30° С/+100° С).




















